Главная
/
Продукция
/
Электромагниты
/
Электромагниты серии ЭМ-33
Электромагниты серии ЭМ-33
 | |
Электромагниты серии ЭМ-33 переменного тока однофазные предназначены для дистанционного управления исполнительными механизмами различного промышленного применения. |
Структурное обозначение ЭМ33-71311-20 УХЛ4
| ЭМ |
- электромагниты |
| 33 |
- номер разработки |
| 7 |
- габарит электромагнита 4,5,6,7 (см. табл.) |
| 1 |
- переменный ток |
| 3 |
- исполнение электромагнита по способу воздействия на исполнительный механизм: 1 - тянущее; 3 - толкающее и тянущее; |
| 1 |
- режим работы (значение относительной продолжительности включения), %: 1 - ПВ=100; 40; 6 - ПВ=15; |
| 1 |
- конструктивное исполнение катушки: с гибкими выводами |
| 20 |
- степень защиты по ГОСТ 14255 69: 00 - IР00; 20 - IР20 |
| УХЛ4 |
- климатическое исполнение и категория размещения по ГОСТ 15150 69 (У3, Т3, УХЛ4) |
Устройство
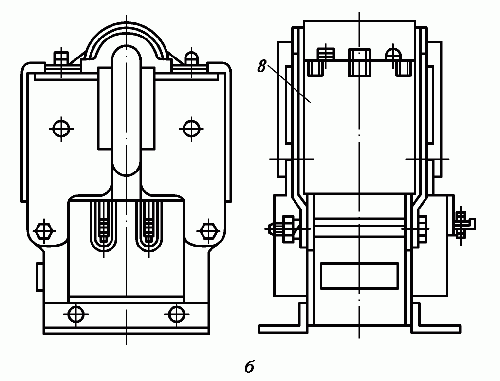
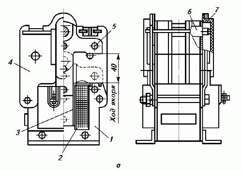
Электромагнит со степенью защиты IР00 (рис. 1, а) состоит из ярма, катушки, якоря. В отверстии якоря установлена ось, предназначенная для создания направления возвратно-поступательному движению якоря в направляющих, одна из которых установлена на скобе, другая во внутренней полости катушки.
Рисунок 1.
Конструкция электромагнитов серии ЭМ33:
а - со степенью защиты IP00; б - со степенью защиты IP20;
1 - ярмо; 2 - катушка; 3, 7 - направляющие; 4 - скоба; 5 - якорь; 6 - ось; 8 - защитная скоба.
Электромагниты со степенью защиты IР20 имеют дополнительную защитную скобу (рис. 1, б).
Катушка электромагнита включается непосредственно в сеть переменного тока, в результате чего в магнитной системе возникает магнитное поле и создается электромагнитная сила, притягивающая якорь к ярму. Его возврат в исходное положение происходит под действием исполнительного механизма. Габаритные, установочные и присоединительные размеры электромагнитов приведены на рис. 2, 3.
Рисунок 2.
Общий вид, габаритные, установочные и присоединительные размеры электромагнитов со степенью защиты IP00: а - тянущего исполнения; б - тянущего и толкающего исполнения
Рисунок 3.
Общий вид, габаритные, установочные и присоединительные размеры электромагнитов со степенью защиты IP20: а - тянущего исполнения; б - тянущего и толкающего исполнения.
Таблица к рис. 2, 3
Тип электро- магнита |
Ход якоря, мм |
Номер рисун ка |
Размеры, мм |
| А |
A1 |
B |
B1 |
B2 |
B3 |
H |
H1 |
H2 |
h |
h1 |
h2 |
d |
d1 |
d2 |
d3 |
b |
s |
ном ина ль ный |
пре- дель- ное откло- нение |
номи- наль- ный |
пре- дель- ное откло- нение |
номи- наль- ный |
пре- дель- ное откло- нение |
| ЭМ33-4 |
15 |
2, а |
48 |
±0,28 |
48 |
±0,28 |
60 |
60 |
70 |
– |
95 |
84 |
– |
– |
84 |
8,5 |
8 |
–0,09 |
5,8 |
– |
– |
10,5 |
4 |
| 2, б |
2,5 |
4 |
16 |
| 3, а |
75 |
– |
96,5 |
– |
– |
– |
| 3, б |
2,5 |
4 |
16 |
| ЭМ33-5 |
20 |
2, а |
53 |
53 |
65 |
65 |
75 |
– |
113 |
98 |
– |
– |
102 |
10,5 |
– |
– |
| 2, б |
2,5 |
4 |
16 |
| 3, а |
79 |
– |
115 |
– |
– |
– |
| 3, б |
2,5 |
4 |
16 |
| ЭМ33-6 |
25 |
2, а |
66 |
±0,35 |
66 |
±0,35 |
80 |
80 |
94 |
96 |
142 |
122 |
– |
– |
126 |
12,5 |
12 |
–0,11 |
7 |
– |
– |
12,5 |
5 |
| 2, б |
3 |
8 |
25 |
| 3, а |
– |
144 |
– |
– |
– |
| 3, б |
3 |
8 |
25 |
| ЭМ33-7 |
2, а |
76 |
76 |
90 |
90 |
142 |
– |
– |
– |
– |
16,5 |
| 2, б |
3 |
8 |
25 |
| 3, а |
– |
144 |
– |
– |
– |
| 3, б |
3 |
8 |
25 |
| ЭМ33-8 |
30 |
2, а |
82 |
±0,7 |
82 |
±0,7 |
100 |
100 |
120 |
– |
181 |
141 |
163 |
– |
145 |
14,8 |
10 |
– |
– |
20,5 |
| 2, б |
3 |
8 |
25 |
| 3, а |
– |
– |
– |
| 3, б |
3 |
8 |
25 |
Классификация
Электромагниты классифицируются по типоисполнениям в зависимости от габарита (номинального тягового усилия), исполнения по способу воздействия на исполнительный механизм, режима работы (продолжительности включения), степени защиты от воздействия внешней среды, климатического исполнения и категории размещения согласно структуре условного обозначения и табл. 1.
Таблица 1
| Типоисполнение электромагнита |
Номинальное тяговое усилие Н |
Исполнение по способу воздействия на исполнительный механизм |
Продолжительность включения ПВ % |
Степень защиты |
| ЭМ33-41111-00ХХ |
16 |
Тянущее |
100; 40 |
IР00 |
| ЭМ33-41311-00ХХ |
Толкающее и тянущее |
| ЭМ33-41161-00ХХ |
Тянущее |
15 |
| ЭМ33-41361-00ХХ |
Толкающее и тянущее |
| ЭМ33-41111-20ХХ |
Тянущее |
100; 40 |
IР20 |
| ЭМ33-41311-20ХХ |
Толкающее и тянущее |
| ЭМ33-41161-20ХХ |
Тянущее |
15 |
| ЭМ33-41361-20ХХ |
Толкающее и тянущее |
| ЭМ33-51111-00ХХ |
29 |
Тянущее |
100; 40 |
IР00 |
| ЭМ33-51311-00ХХ |
Толкающее и тянущее |
| ЭМ33-51161-00ХХ |
Тянущее |
15 |
IР00 |
| ЭМ33-51361-00ХХ |
Толкающее и тянущее |
| ЭМ33-51111-20ХХ |
Тянущее |
100; 40 |
IР20 |
| ЭМ33-51311-20ХХ |
Толкающее и тянущее |
| ЭМ33-51161-20ХХ |
Тянущее |
15 |
| ЭМ33-51361-20ХХ |
Толкающее и тянущее |
| ЭМ33-61111-00ХХ |
40 |
Тянущее |
100; 40 |
IР00 |
| ЭМ33-61311-00ХХ |
Толкающее и тянущее |
| ЭМ33-61161-00ХХ |
Тянущее |
15 |
| ЭМ33-61361-00ХХ |
Толкающее и тянущее |
| ЭМ33-61111-20ХХ |
Тянущее |
100; 40 |
IР20 |
| ЭМ33-61311-20ХХ |
Толкающее и тянущее |
| ЭМ33-61161-20ХХ |
Тянущее |
15 |
| ЭМ33-61361-20ХХ |
Толкающее и тянущее |
| ЭМ33-71111-00ХХ |
67 |
Тянущее |
100; 40 |
IР00 |
| ЭМ33-71311-00ХХ |
Толкающее и тянущее |
| ЭМ33-71161-00ХХ |
Тянущее |
15 |
| ЭМ33-71361-00ХХ |
Толкающее и тянущее |
| ЭМ33-71111-20ХХ |
Тянущее |
100; 40 |
IР20 |
| ЭМ33-71311-20ХХ |
Толкающее и тянущее |
| ЭМ33-71161-20ХХ |
Тянущее |
15 |
| ЭМ33-71361-20ХХ |
Толкающее и тянущее |
| ЭМ33-81111-00ХХ |
100; 160 |
Тянущее |
100; 40 |
IР00 |
| ЭМ33-81311-00ХХ |
Толкающее и тянущее |
| ЭМ33-81161-00ХХ |
Тянущее |
15 |
| ЭМ33-81361-00ХХ |
Толкающее и тянущее |
| ЭМ33-81111-20ХХ |
Тянущее |
100; 40 |
IР20 |
| ЭМ33-81311-20ХХ |
Толкающее и тянущее |
| ЭМ33-81161-20ХХ |
Тянущее |
15 |
| ЭМ33-81361-20ХХ |
Толкающее и тянущее |
Таблица габаритов
| Габарит |
4 |
5 |
6 |
7 |
8 |
| Номинальное усилие Н |
16 |
29 |
40 |
67 |
100; 160 |
Условия эксплуатации
Номинальные значения климатических факторов внешней среды по ГОСТ 15150 69 и ГОСТ 15543.1 89. Высота над уровнем моря не более 4300 м. Окружающая среда - невзрывоопасная, не содержащая пыли в концентрациях, снижающих параметры электромагнитов в недопустимых пределах. Нормальное рабочее положение электромагнитов вертикальное и горизонтальное. Требования техники безопасности по ГОСТ 12.2.007.0 75 и ГОСТ 12.2.007.6 93. Электромагниты соответствуют требованиям ТУ 16-729.393 83 и ГОСТ 19264 82. Электромагниты климатического исполнения Т дополнительно соответствуют требованиям ГОСТ 15963 79. Электромагниты экспортного исполнения дополнительно соответствуют требованиям РД 16.01.007 88.
ТУ
ТУ 16-729.393-83;ГОСТ 19264-82;РД 16.01.007-88
Технические характеристики
Номинальные тяговые усилия электромагнитов в эксплуатационно-нагретом состоянии и напряжении, равном 0,9 номинального значения, номинальная частота включений, номинальный ход якоря, время срабатывания и возврата и номинальная активная мощность электромагнитов приведены в табл. 2 (при частоте сети 50 или 60 Гц).
Таблица 2
| Тип электро-магнита |
Номи-нальный ход якоря, мм |
Номи-нальное тяговое усилие Н |
Относительная продолжительность включения ПВ % |
Номи-нальная частота включений в час |
Время срабатывания мс |
Время возврата мс |
Номи-нальная активная мощность Вт не более |
| ЭМ33-4 |
15 |
16 25 |
100; 40 15 |
3200 1300 |
200 220 |
220 |
32 60 |
| ЭМ33-5 |
20 |
29 40 |
100; 40 15 |
2400 800 |
70 110 |
30 75 |
| ЭМ33-6 |
25 |
40 63 |
200; 40 15 |
1600 800 |
100 110 |
80 |
52 160 |
| ЭМ33-7 |
67 100 |
100; 40 15 |
1500 750 |
100 110 |
250 |
50 160 |
| ЭМ33-8 |
30 |
100 160 |
100; 40 15 |
600 120 |
280 300 |
100 230 |
Номинальные рабочие напряжения электромагнитов, В: - частотой 50 Гц: 24; 36; 42; 60; 110; 127; 220; 230; 240; 380; 400; 415; 440; 500; 550; 660
- частотой 60 Гц: 24; 36; 42; 60; 110; 115; 220; 230; 380; 400; 415; 440; 660
Электромагниты надежно работают при значениях напряжения питающей сети от 0,9 до 1,1 номинального значения в продолжительном (ПВ=100%) и повторно-кратковременном (ПВ=40%) режимах. Механическая износостойкость (средний ресурс) электромагнитов, установленных в вертикальном положении, при номинальном напряжении, номинальном ходе якоря и противодействующем усилии, равном не менее оминального тягового усилия, не менее указанной в табл. 3.
Таблица 3
| Габарит электромагнита |
4; 5 |
6; 7 |
8 |
| Механическая износостойкость электромагнитов млн. циклов |
5 |
3 |
2 |
Выводы электромагнитов обеспечивают присоединение внешних проводов с сечением в соответствии с ГОСТ 19264 82. После отключения электромагнитов от питающей сети якорь возвращается из конечного положения в начальное под действием противодействующего усилия, величина которого не превышает 25% номинального тягового усилия. Масса электромагнита в зависимости от габарита приведена в табл. 4.
Таблица 4
| Габарит электромагнита |
Масса кг не более |
| 4 |
1,1 |
| 5 |
1,5 |
| 6 |
2,5 |
| 7 |
3,1 |
| 8 |
5,2 |
Форма статической тяговой характеристики имеет пологий характер. При этом удерживающая сила электромагнита (при притянутом якоре) превышает номинальное тяговое усилие не менее, чем в 2,5 раза. Рекомендуемые противодействующие усилия электромагнитов приведены в табл.5.
Таблица 5
| Номинальное тяговое усилие Н |
Противодействующее усилие при различной пружинной нагрузке Н |
| 16 |
10±1 |
13±1 3 |
| 29 |
15±1 5 |
25±2 5 |
| 40 |
25±2 5 |
35±3 5 |
| 67 |
40±4 |
50±5 |
| 100 |
50±0 5 |
90±9 |
Ток, потребляемая мощность электромагнитов и коэффициент мощности приведены в табл. 6.
Таблица 6
| Номинальное тяговое усилие Н |
Напряжение В |
Ток А |
Мощность |
соsj |
| номи-нальный |
пусковой |
номинальная активная Вт |
пусковая кажущаяся В·А |
пусковой |
рабочий |
| 16 |
24 36 42 60 110 127 220 230 240 380 400 415 440 500 550 660 |
3 4 2 3 1 94 1 36 0 74 0 64 0 37 0 35 0 34 0 22 0 2 0 197 0 185 0 165 0 15 0 125 |
29 5 19 7 16 8 11 8 6 4 5 6 3 2 3 1 2 95 1 87 1 76 1 7 1 6 1 42 1 28 1 07 |
32 |
710 |
0 70 |
0 39 |
| 29 |
24 36 42 60 110 127 220 230 240 380 400 415 440 500 550 660 |
5 1 3 4 2 9 2 05 1 1 1 0 55 0 53 0 505 0 32 0 31 0 292 0 278 0 242 0 22 0 185 |
49 33 1 28 3 19 8 10 6 9 4 5 3 5 1 4 9 3 1 2 95 2 82 2 65 2 25 2 12 1 8 |
30 |
1190 |
0 70 |
0 33 |
| 40 |
110 127 220 230 240 380 400 415 440 500 550 660 |
1 5 1 3 0 75 0 72 0 7 0 45 0 42 0 40 0 38 0 33 0 3 0 22 |
20 17 4 10 9 6 9 2 5 8 5 5 5 35 5 4 4 4 3 35 |
52 |
|
|
|
 |
 |
 |
 |
 |
 |
 |
 |
 |
 |
 |
 |
 |
 |
 |
 |
 |
 |
 |
 |
 |
 |
 |
 |
 |
 |
 |
|