О ПРЕДПРИЯТИИ ПРОДУКЦИЯ ПРАЙС-ЛИСТЫ КОНТАКТЫ
Главная / Продукция / Аккумуляторы типов НК-55 (80, 125)

Аккумуляторы типов НК-55 (80, 125)

      Аккумуляторы указанных типов и формируемые на их основе аккумуляторные батареи предназначены для электропитания приборов и аппаратов различного назначения. Аккумуляторы и аккумуляторные батареи соответствуют техническим условиям ТУ 16-90 ИЛБЕ.563330.001 ТУ (НК-80, 5НК-80); ИЛТГ. 563334.011 ТУ (НК-55; 4,5НК-55); ИЛТГ.563337.101 ТУ (НК-125; 5НК-125).

Структура условного обозначения

ХНК-Х У2:
Х - количество последовательно соединенных аккумуляторов в батарее;
НК - никель-кадмиевая электрохимическая система;
Х - номинальная емкость, А;
У2 - климатическое исполнение и категория размещения по ГОСТ 15150-69.

Условия эксплуатации


Аккумуляторы и аккумуляторные батареи работоспособны в диапазоне.
Температур от минус 40 до 40°С.
Относительной влажности до 95%.
Воздействия механических факторов по группе М125 (ГОСТ 17516.1-90) с ускорением 3 g, частотой 10-100 Гц и длительностью воздействия от 2 до 20 с.
Аккумуляторы и батареи в разряженном состоянии, без электролита хранятся в сухом закрытом помещении, отапливаемом или неотапливаемом, на стеллажах в нормальном положении (крышкой вверх) при температуре окружающего воздуха не выше 40°С и относительной влажности воздуха не более 80%. Аккумуляторы и батареи необходимо периодически очищать от пыли и выступающих солей (карбонатов). Установка аккумуляторов и батарей штабелями не допускается.
Аккумуляторы и батареи можно хранить в полевых условиях под навесом в течение 6 мес, при этом не допускается воздействие прямых солнечных лучей и атмосферных осадков. Допускается хранение аккумуляторов и батарей в заряженном состоянии в течение 6 мес при температуре окружающего воздуха (20+5)°С.
Неокрашенные поверхности аккумуляторов необходимо смазывать тонким слоем смазки, не содержащей кислот.
Не допускается совместное хранение щелочных аккумуляторов и батарей с кислотными аккумуляторами и батареями с кислотами.
Аккумуляторы и батареи допускаются транспортировать любым видом транспорта на любое расстояние в разряженном состоянии без электролита.
При транспортировании аккумуляторы и батареи должны быть защищены от влаги и прямых солнечных лучей.
Не допускается установка батарей одна на другую без прокладок, падение аккумуляторов, взаимные удары.
Нормативно-технический документ
ТУ 16-90 ИЛБЕ.563330.001 ТУ,ИЛТГ.563334.011 ТУ, ИЛТГ.563337.101 ТУ

Технические характеристики

Тип аккумулятора и батареи

Номинальная емкость, А·ч

Масса, кг

Размеры, мм, не более

без электролита

с электролитом

длина

ширина

высота

НК-55

55

2,20

2,78

55

127

216

4НК-55

11,40

13,70

308

4НК-55-III

11,50

13,80

335

148

257

5НК-55

13,90

16,80

373

НК-80

80

3,50

4,46

47

154

352

5НК-80

21,30

26,10

322

5НК-80-III

21,50

26,30

356

170

393

НК-125

125

5,10

6,60

72

154

352

5НК-125

31,60

39,10

461

5НК-125-III

31,80

39,30

495

170

393

Номинальное напряжение составляет не менее:
аккумулятора - 1,2 В;
батареи из 4 аккумуляторов - 4,8 В;
батареи из 5 аккумуляторов - 6,0 В.
Номинальный режим работы аккумуляторов и батарей таков:
заряд - током 0,25 С10 А в течение 6 ч;
разряд - током 0,1 С10 А до конечного напряжения 1,0 В из расчета на аккумулятор, где С10 - номинальная емкость, определенная при разряде током, равным 0,1 С10 А.
Емкость аккумуляторов и батарей, разряженных постоянным током 0,1 С10 А до конечного напряжения 1,0 В из расчета на аккумулятор, составляет, не менее:
при температуре минус (20+2)°С - 0,60 С10;
при температуре минус (40+2)°С - 0,20 С10.
Остаточная емкость аккумуляторов и батарей составляет, не менее:
после хранения в заряженном состоянии в течение 28 суток - 0,75 С10;
после хранения в заряженном состоянии в течение 6 мес - 0,50 С10.
Наработка аккумуляторов и батарей составляет не менее 1000 циклов до предельной емкости 0,60 С10.
Срок службы аккумуляторов и батарей, в пределах которого обеспечивается указанная наработка, составляет 3 года.
Срок сохраняемости - 5 лет, в том числе 6 мес в полевых условиях.

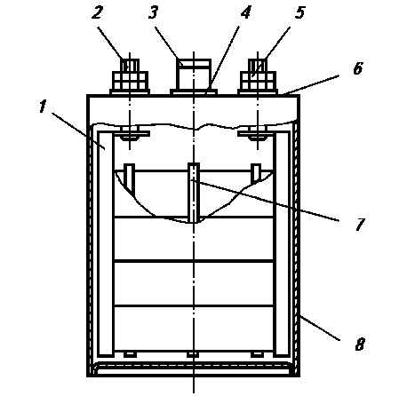
Общий вид аккумулятора типа НК

Аккумулятор включает в себя блок положительных и отрицательных электродов, разделенных сепараторами и помещенных в сосуд с электролитом. Электроды подключены к электрическим выводам, размещенным на крышке, в горловине которой установлена вентильная пробка. Последняя обеспечивает свободный выход газов и предотвращает выплескивание электролита.

Общий вид аккумулятора типа НК

  1, 7 - блоки электродов; 2 - электрический вывод;
  3 - вентильная пробка; 4 - резиновое кольцо;
  5 - гайка крепления; 6 - крышка; 8 - сосуд
Аккумуляторная батарея состоит из 4 (5) аккумуляторов емкостью соответственно 55, 80, 125 А соединенных последовательно перемычками.
Лакокрасочное покрытие обеспечивает защиту аккумуляторов и батарей от коррозии при транспортировании и хранении. Аккумуляторы и батареи поставляются в разряженном состоянии без электролита.